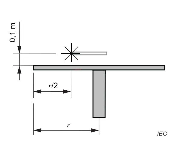
In CISPR 16-1-4 AMD 2023, the influence of the setup table is recognized as a potential source of measurement uncertainty in radiated emission tests. The standard outlines a procedure to quantify this influence by comparing transmission measurements conducted with and without the setup table in place. These tests are typically performed over a frequency range of 30 MHz to 18 GHz using a fixed antenna arrangement to ensure consistency. The difference in results between the two setups indicates the extent to which the table may affect the electromagnetic environment and, consequently, the accuracy of the emission measurements. This influence is then evaluated and incorporated into the test laboratory's uncertainty budget to ensure that all reported measurement data accounts for potential variations introduced by the presence of the setup table.
© Copyright 2025. Bquest Labs Pvt. Ltd. All Rights Reserved. Designed & Developed by: FutureGenAppsĀ®